查看: 14911|回复: 14

新3授权版怎么退老版本

[复制链接]

2

主题

45

帖子

21

积分

初级玩家

Rank: 1

积分
21
发表于 2020-11-29 15:16:05 | 显示全部楼层 |阅读模式
新3授权版怎么退老版本,退到4.9.0.18019,新版本太容易CPU99了
回复

使用道具 举报

376

主题

1万

帖子

4万

积分

管理员

Rank: 9Rank: 9Rank: 9

积分
41441
发表于 2020-11-29 17:28:42 | 显示全部楼层
当前用的什么版本?
回复 支持 反对

使用道具 举报

35

主题

1000

帖子

3118

积分

高恪VIP内测组

Rank: 6Rank: 6

积分
3118

内测达人

发表于 2020-11-29 17:33:09 | 显示全部楼层
每次升级前,备份编程器固件。
回复 支持 反对

使用道具 举报

2

主题

45

帖子

21

积分

初级玩家

Rank: 1

积分
21
 楼主| 发表于 2020-11-29 19:31:22 | 显示全部楼层
admin 发表于 2020-11-29 17:28
当前用的什么版本?

最新版本5.2.0.19492
回复 支持 反对

使用道具 举报

35

主题

1000

帖子

3118

积分

高恪VIP内测组

Rank: 6Rank: 6

积分
3118

内测达人

发表于 2020-11-29 19:36:39 | 显示全部楼层
本帖最后由 oujinlai 于 2020-11-29 19:40 编辑
练郑宇 发表于 2020-11-29 19:31
最新版本5.2.0.19492

恢复一下出厂试试。
我的没有问题
微信图片_20200718213025.png
回复 支持 反对

使用道具 举报

0

主题

6

帖子

1

积分

初级玩家

Rank: 1

积分
1
发表于 2020-11-29 19:48:21 | 显示全部楼层
oujinlai 发表于 2020-11-29 19:36
恢复一下出厂试试。
我的没有问题

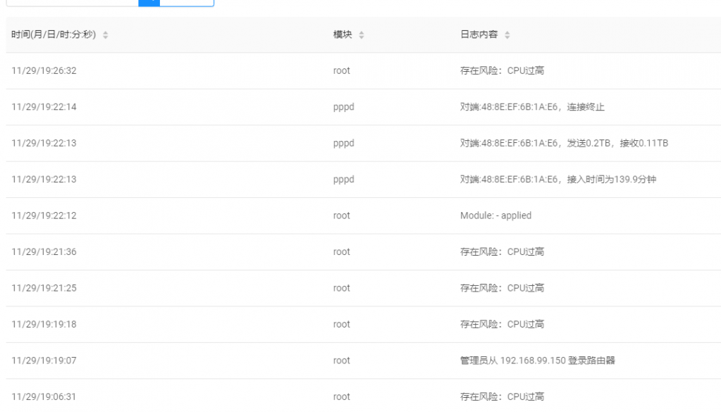
试过了,没用,好一会,一会又会100%.固件问题,很麻烦很麻烦,持续断网,路由器后台都进不去.
QQ图片20201129194600.png
QQ图片20201129194619.png
回复 支持 反对

使用道具 举报

2

主题

45

帖子

21

积分

初级玩家

Rank: 1

积分
21
 楼主| 发表于 2020-11-30 00:28:31 | 显示全部楼层
joyyoung 发表于 2020-11-29 19:48
试过了,没用,好一会,一会又会100%.固件问题,很麻烦很麻烦,持续断网,路由器后台都进不去. ...

一模一样的,以前老版本可以上30MBCPU都不会那么容易99,现在上传才4-6MB链接数5000左右CPU直接99了
回复 支持 反对

使用道具 举报

15

主题

229

帖子

326

积分

高级玩家

Rank: 3Rank: 3

积分
326
发表于 2020-11-30 18:30:45 来自手机 | 显示全部楼层
90包邮解君愁
回复 支持 反对

使用道具 举报

2

主题

45

帖子

21

积分

初级玩家

Rank: 1

积分
21
 楼主| 发表于 2020-11-30 21:02:28 | 显示全部楼层

授权都100,还没有算机器
回复 支持 反对

使用道具 举报

15

主题

229

帖子

326

积分

高级玩家

Rank: 3Rank: 3

积分
326
发表于 2020-11-30 21:47:32 来自手机 | 显示全部楼层
练郑宇 发表于 2020-11-30 21:02
授权都100,还没有算机器

二手就这个行情
回复 支持 反对

使用道具 举报

您需要登录后才可以回帖 登录 | 立即注册

本版积分规则

快速回复 返回顶部 返回列表