查看: 6952|回复: 6

L2TP客户端和无线中继双wan主备不成功?

[复制链接]

2

主题

23

帖子

15

积分

初级玩家

Rank: 1

积分
15
发表于 2020-1-9 11:52:04 | 显示全部楼层 |阅读模式
高恪AK系列硬件AP隆重上市
我这是校园网,DHCP获取IP再L2TP上网的,我想和另一个晚上不断网的wifi无线中继做主备模式
我在 主线或者默认线路 选了vpn_l2tpc,早上来网DHCP获取到IP的时候并不会自动连接L2TP客户端,虽然wan口和wan6都是畅通,但是不会自动切换,怎么办?
回复

使用道具 举报

66

主题

3504

帖子

5595

积分

高恪长老

Rank: 9Rank: 9Rank: 9

积分
5595

热心达人内测达人突出贡献

发表于 2020-1-9 12:47:35 来自手机 | 显示全部楼层
高恪AK系列硬件AP隆重上市
有没有设置线路侦测
回复 支持 反对

使用道具 举报

2

主题

23

帖子

15

积分

初级玩家

Rank: 1

积分
15
 楼主| 发表于 2020-1-9 13:02:03 | 显示全部楼层
18640401404 发表于 2020-1-9 12:47
有没有设置线路侦测

设置的Ping网关,Wan口和Wan6的中继都是畅通,vpn_l2tpc接口没有自动连接。。
回复 支持 反对

使用道具 举报

66

主题

3504

帖子

5595

积分

高恪长老

Rank: 9Rank: 9Rank: 9

积分
5595

热心达人内测达人突出贡献

发表于 2020-1-9 13:16:15 | 显示全部楼层
sola97 发表于 2020-1-9 13:02
设置的Ping网关,Wan口和Wan6的中继都是畅通,vpn_l2tpc接口没有自动连接。。

白天来网的时候不自动切换回来呗  用应用分流添加时间组不行吗  学校断网和恢复的时间应该是固定的吧
回复 支持 反对

使用道具 举报

2

主题

23

帖子

15

积分

初级玩家

Rank: 1

积分
15
 楼主| 发表于 2020-1-9 16:34:04 | 显示全部楼层
本帖最后由 sola97 于 2020-1-9 16:41 编辑
18640401404 发表于 2020-1-9 13:16
白天来网的时候不自动切换回来呗  用应用分流添加时间组不行吗  学校断网和恢复的时间应该是固定的吧 ...

正常的话只开l2tp客户端来网会自动连接的,所以我用两台路由器串联是能实现主备的,一级路由负责连l2tp,二级路由DHCP获取IP就能完成线路侦测。
但是配置到一台路由器上,开启无线中继之后wan口拔插一次l2tp就会断线,而且好像连不上。。


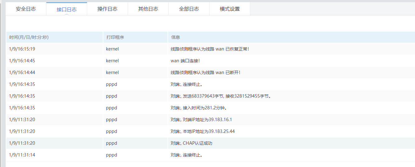
这是开启无线中继之前,拔插网线自动连接


这是开启无线中继之后,拔插网线,线路侦测程序认为wan口已恢复正常,但是没有重新chap认证

回复 支持 反对

使用道具 举报

66

主题

3504

帖子

5595

积分

高恪长老

Rank: 9Rank: 9Rank: 9

积分
5595

热心达人内测达人突出贡献

发表于 2020-1-9 17:35:21 | 显示全部楼层
本帖最后由 18640401404 于 2020-1-9 17:38 编辑
sola97 发表于 2020-1-9 16:34
正常的话只开l2tp客户端来网会自动连接的,所以我用两台路由器串联是能实现主备的,一级路由负责连l2tp, ...

开双wan口 l2tp也需要指定出口 把出口指定wan口试试  看日志是对端断开的 先不开中继看看日志怎么提示的
回复 支持 反对

使用道具 举报

376

主题

1万

帖子

4万

积分

管理员

Rank: 9Rank: 9Rank: 9

积分
41443
发表于 2020-1-10 09:10:57 | 显示全部楼层
@gocloud_lws
主备模式可以安排验证下。
回复 支持 反对

使用道具 举报

您需要登录后才可以回帖 登录 | 立即注册

本版积分规则

快速回复 返回顶部 返回列表